-
Next Day Package Startup Veho Raises $125 Million for Last Mile Race

Photo Credit: Amazon.com. -
After Less Than Three Years, McDonalds is Selling One of Its Biggest Ever Acquisitions

Image Credit: iStock, tofumax -
Blackstone Acquires Majority Stake In Supergoop

Image Credit: iStock, DisobeyArt -
Turkey’s Economic Crisis Threatens Nutella Supply Chain

Image Credit: iStock, Woodysphotos -
BNP Paribas Quits US Retail Banking With $16.3 Billion Sale

Image Credit: iStock, Marco_Bonfanti -
Stocktwits, Social Media Platform for Online Investors, Is Worth $210 Million

Image Credit: iStock Images, dusanpetkovic -
Inflation Isn’t Bad For Everyone, Just Ask Debtors

Image Credit: iStock, Natalie_B -
Biogen’s Alzheimer’s Drug To Enter New Trial Stage Next Year

Image Credit: iStock, BackyardProductions -
Airline CEOs Got Grilled After Promising to Keep Up Staffing Levels

Photo Credit: American Airlines. -
Spider-Man Poised to Take Down Post-Covid Movie Fatigue

Image Credit: iStock, batuhan toker -
Sotheby’s Considers an IPO Two Years After It Went Private

Image Credit: iStock, Denis Linine -
Vacant Strip Mall Space is Filling Up as People Shop for Food In Person

Image Credit: iStock, atlantagreg -
A Global Bug Killing Giant Just Formed for $6.7 Billion

Image Credit: Rentokil -
America’s Billionaires Are Cashing Out Their Stocks Like Never Before

-
Designer Purse Brand Accuses NFT Creator Of Trademark Infringement

Image Credit: iStock Images, dusanpetkovic -
Gigantic Corporate Debts Could Pin the Fed in an Inflation Trap

Image Credit: iStock, Pabradyphoto -
Things Have Gone from Bad to Worse for SPACs to Round Out the Year

Image Credit: Adobe.com -
2021 is the Biggest Winning Year for US Casinos, But One Gambling Hub is Hedging Its Bets

Image Credit: iStock, Welcomia -
Whiteboard App Miro Thinks It’s Worth $17 Billion — VCs Think It’s Worth More

Image Credit: iStock Images, dusanpetkovic -
Vivendi Plans Takeover Bid for Lagardère SA

Image Credit: Vivendi
Advisor Upside
Financial advisor news, market insights, and practice management essentials.
-
‘Finally Good Enough’: Agents Take On Voice AI

Photo by Alex Shuper via Unsplash -
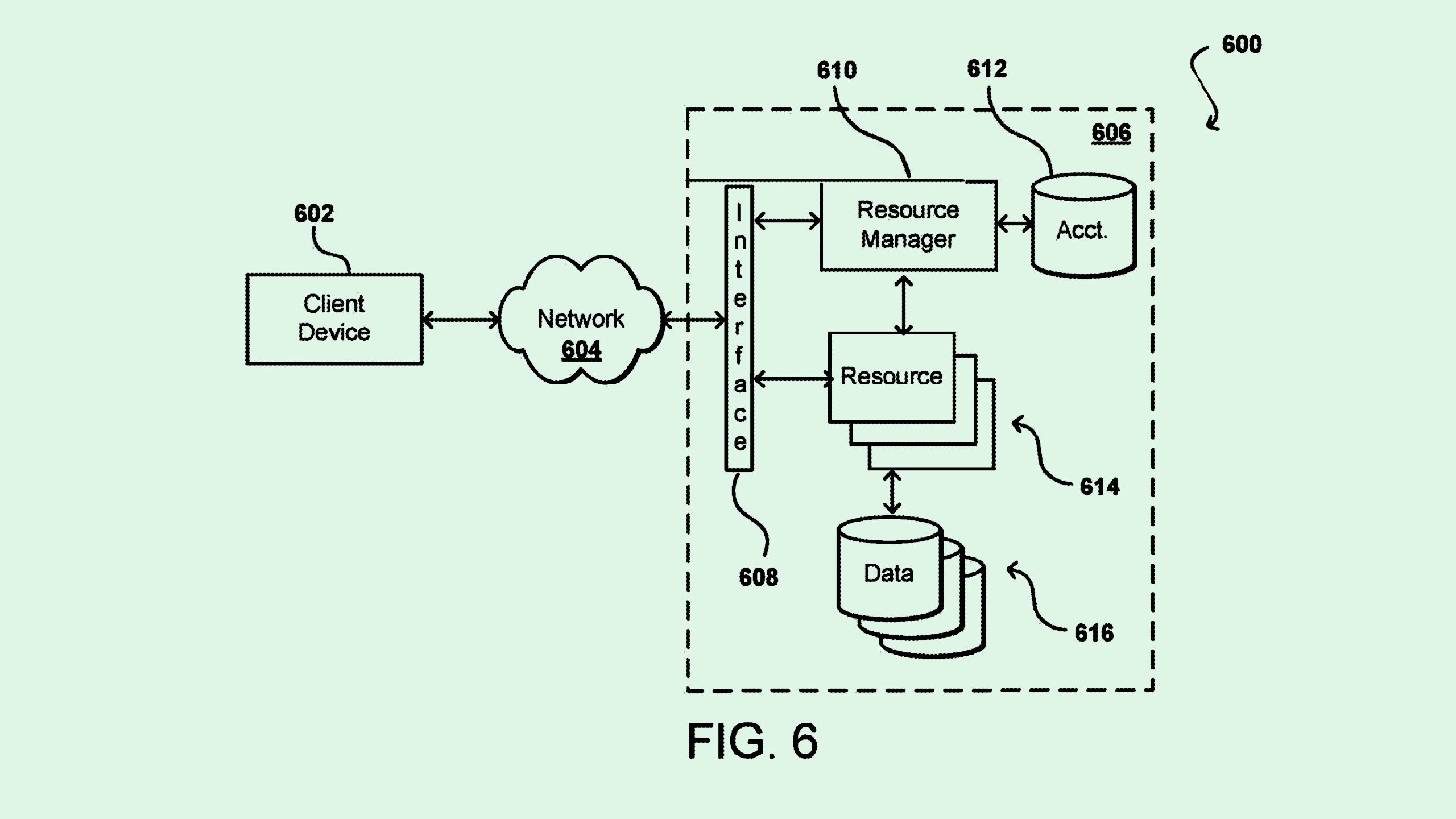
Amazon Wants AI Up-to-Date and Personal

Photo via U.S. Patent and Trademark Office -
Shrinking IT Teams Increasingly Rely on AI Helpers

Photo by Getty Images via Unsplash
Delivering exclusive news and sharp analysis on finance and investing—all for free.



















