Meta Patent Reveals Details of Lighter and Smarter Headsets
The tech could provide a glimpse at an “all-day usable item” that spatial computing may rely on to scale.

Sign up to uncover the latest in emerging technology.
Meta wants your mixed reality headset to be in tune with the world around you.
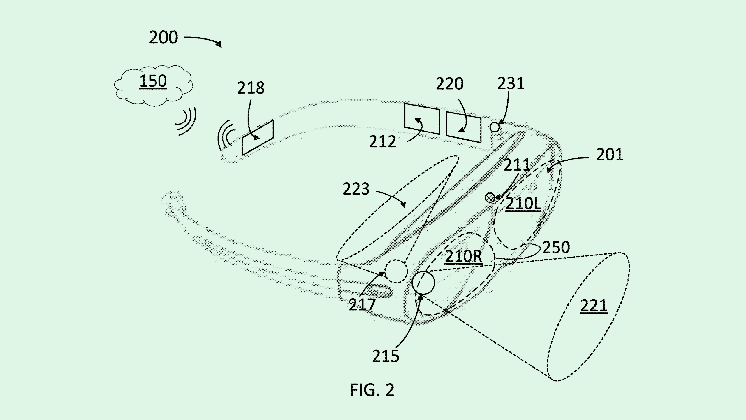
The company is seeking to patent a “reconfigurable headset” that transitions between VR, AR and “actual reality.” Meta’s filing essentially describes a lighter and more environmentally aware mixed-reality device that switches modes “according to the scenario.”
Conventional artificial reality devices typically are either AR or VR — not both — because the “transition between these different configurations within a single device is challenging given the complexity of each configuration mode and the associated hardware,” Meta noted.
While displaying content for a user in whichever mode they are in, Meta’s headset will monitor the user’s environment to identify potential hazards using motion sensors, image capture and audio sensors. If a hazard is identified, such as if a user’s pet runs near their legs while they’re in VR, the system will alert the user and switch to a “direct reality” mode that displays a “real-time image of an environment.”
If a user desires to change the mode for themselves, the system would use a host of sensors to capture gestures indicating this change, without the need for controllers. For example, Meta noted, the system may use GPS location to determine “a 3D position of headset,” accelerometers or gyroscopes to determine movements such as head nods or shakes, or a front-view camera to capture hand motions such as snaps or waves.
Meta’s filing also notes that this device aims to blend the real world into its virtual one, enhancing interactions with the people in front of them by allowing them to “become a “real life companion” directly into the user’s virtual world seamlessly.”
Notably, Meta also said in the filing that the headset is lightweight (resembling a pair of glasses in the diagrams), and has a significantly longer battery life (between 8 to 12 hours, compared to the Quest Pro’s two-hour battery life) that “can be used for extended periods of time in different circumstances.”
It’s no secret that Meta wants to make its tech lighter. Smart glasses and AR technology are a major piece of its product roadmap through 2027. The company is already on its way to lighter wearables with the debut of its smart glasses in partnership with Ray-Ban, though these frames don’t come with augmented reality features. This patent may provide a look-ahead at what a built-out pair of smart glasses from Meta may offer.
However, a lot of what Meta has in store is in direct competition with Apple’s latest offering, the Vision Pro, such as passthrough capabilities and at least some recognition of the outside world, said D.J. Smith, co-founder and chief creative officer at The Glimpse Group.
While Apple’s release of the Vision Pro has created another competitor for Meta, it’s also created more excitement about the artificial reality market after a year when consumers and investors alike stepped away from the concept, said Tejas Dessai, research analyst at Global X ETFs.
“Apple’s entry validates this space,” said Dessai. “It also signals that Meta’s ambitions and decade-long pursuit of this wearable technology wasn’t wasteful… (Apple) will play a massive role in bringing mass awareness about this technology.”
However, while videos of people in self-driving Teslas wearing Vision Pro headsets may have you thinking otherwise, extended reality that’s wearable in any environment has yet to crack into the mainstream. Making these devices lightweight, energy-efficient and having a seamless transition between modes may be the key to getting people to actually wear them, said Smith.
“This is really a glimpse at what the future of spatial computing is,” said Smith. “(Current technology) is not really designed to be used outside of the house. What we’re looking at now with a true pair of glasses and an 8-to-10-hour battery life, that’s now becoming an all-day usable item.”
But ease of use isn’t the only factor to consider, said Smith. The price tag of these devices also may create a barrier to entry. While Meta’s lower-end devices range start at around $250, its latest headset in the Quest line starts at $1,000. The Vision Pro headsets, meanwhile, cost around $3,500 each. Plus, the average consumer simply isn’t really used to spatial computing as a concept, he said. “It takes time for people to embrace that and realize the advantages of it.”











